新城市获得实用新型专利授权:“一种底泥治理分类处理装置”
2026年01月27日 | 浏览量:57606

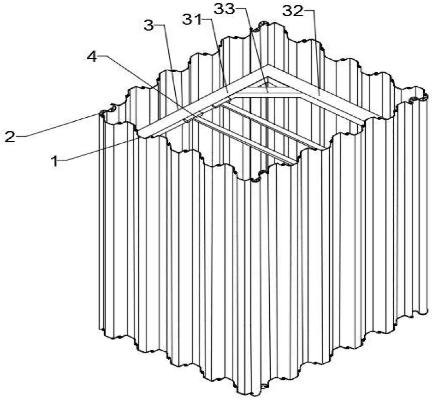
图片来源于网络,如有侵权,请联系删除
证券之星消息,根据天眼查APP数据显示新城市(300778)新获得一项实用新型专利授权,专利名为“一种底泥治理分类处理装置”,专利申请号为CN202520096711.7,授权日为2026年1月27日。
专利摘要:本实用新型涉及底泥治理技术领域,公开了一种底泥治理分类处理装置,包括底框,所述底框的上表面固定连接有抽吸泵,所述抽吸泵的输入端固定连接有外接管,所述抽吸泵的输出端固定连接有送泥管,本实用新型能够依据底泥类型区分处理方式,对于高营养盐污染底泥和重金属污染底泥分别送至不同的处理箱,这种分类处理方式可以提高处理效率,避免不同类型污染物在处理过程中的相互干扰,使处理效果更加精准,电热丝组产生热量,送热风扇将热量均匀传递,对处理箱二内的重金属污染底泥进行干化处理并添加稳定剂,使不稳定态重金属转化为稳定态重金属以便回收,提高了重金属污染底泥的处理效果,有利于后续的回收利用。
今年以来新城市新获得专利授权2个。结合公司2025年中报财务数据,2025上半年公司在研发方面投入了538.91万元,同比减30.72%。
通过天眼查大数据分析,深圳市新城市规划建筑设计股份有限公司共对外投资了15家企业,参与招投标项目9351次;财产线索方面有商标信息13条,专利信息63条,著作权信息44条;此外企业还拥有行政许可16个。
数据来源:天眼查APP
以上内容为证券之星据公开信息整理,由AI算法生成(网信算备310104345710301240019号),不构成投资建议。
本文来源:财富通途网
本文地址:https://ibradsap.com/post/43947.html
关注我们:微信搜索“xiaoqihvlove”添加我为好友
版权声明:如无特别注明,转载请注明本文地址!

