喜临门获得实用新型专利授权:“一种脊柱形态测量设备”
2025年10月21日 | 浏览量:49217

图片来源于网络,如有侵权,请联系删除
证券之星消息,根据天眼查APP数据显示喜临门(603008)新获得一项实用新型专利授权,专利名为“一种脊柱形态测量设备”,专利申请号为CN202422625739.3,授权日为2025年10月21日。
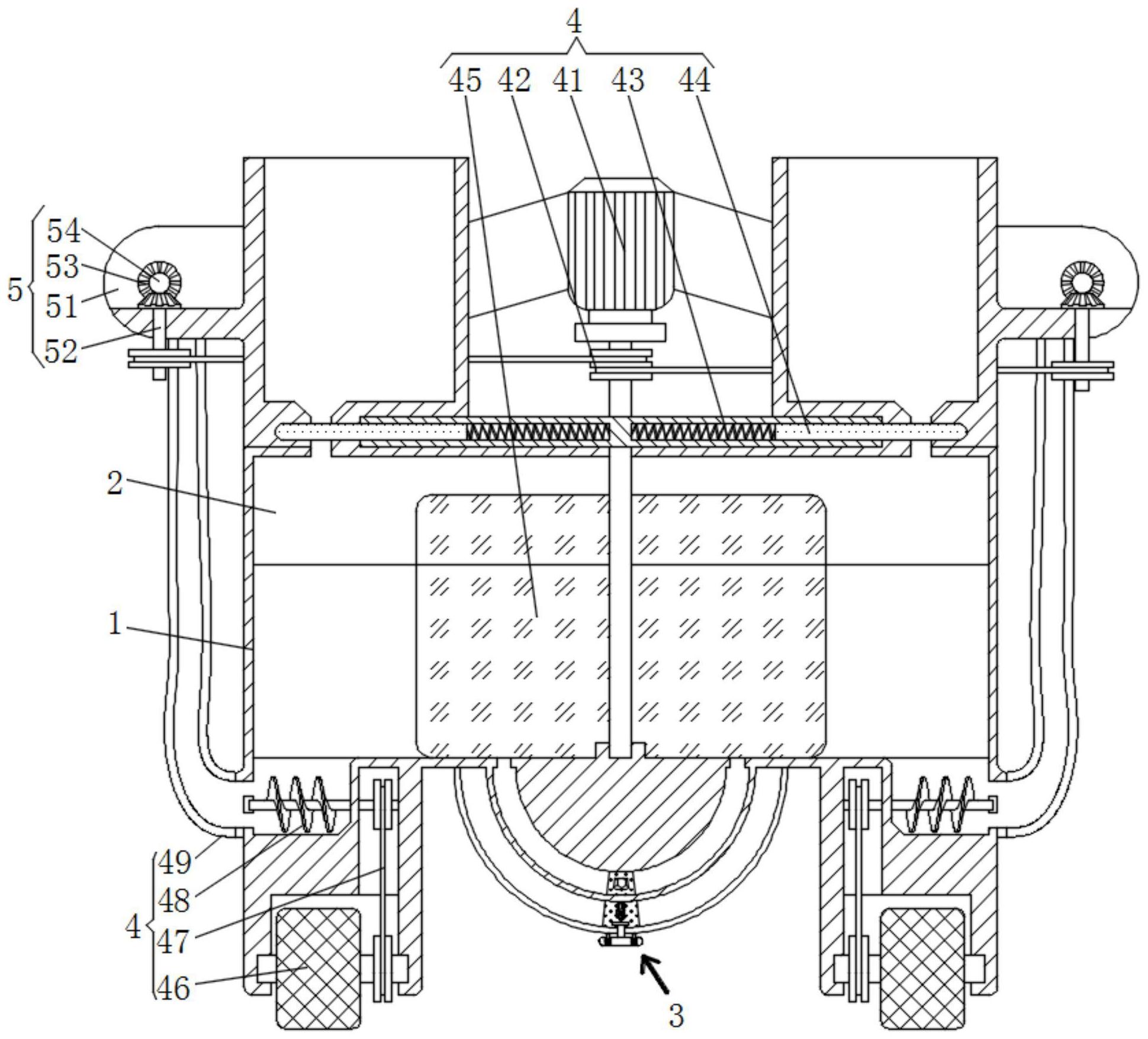
专利摘要:本实用新型提供了一种脊柱形态测量设备,包括测量板安装架和若干测量板,测量板安装架沿竖直方向分布若干滑动槽,测量板插入滑动槽,沿滑动槽在前后方向滑动;当受测者站于设备前方时,测量板向前方滑动至与受测者背部接触,测量板的前端共同形成与受测者脊柱形态吻合的轮廓;测量板沿前后方向的中心处长度大于两侧长度,测量板向前方滑动时,中心处的前端先接触受测者背部。本实用新型的设备,使用物理贴合的方式测量人体脊柱形态,能够便携且安全地应用于家居产品开发,同时,本实用新型的脊柱形态测量设备使用了中央处凸出的测量板,在测量时测量板中央与人体脊柱的凹陷或凸出处贴合效果更好,具有更准确的测量效果。

图片来源于网络,如有侵权,请联系删除
今年以来喜临门新获得专利授权727个,较去年同期增加了196.73%。结合公司2025年中报财务数据,今年上半年公司在研发方面投入了8233.38万元,同比减8.63%。
通过天眼查大数据分析,喜临门家具股份有限公司共对外投资了44家企业,参与招投标项目387次;财产线索方面有商标信息3265条,专利信息2418条,著作权信息79条;此外企业还拥有行政许可21个。
数据来源:天眼查APP
以上内容为证券之星据公开信息整理,由AI算法生成(网信算备310104345710301240019号),不构成投资建议。
本文来源:财富通途网
本文地址:https://ibradsap.com/post/37587.html
关注我们:微信搜索“xiaoqihvlove”添加我为好友
版权声明:如无特别注明,转载请注明本文地址!

