格力电器获得发明专利授权:“一种管线安装结构及包括其的衣物处理设备”
2025年09月24日 | 浏览量:49174

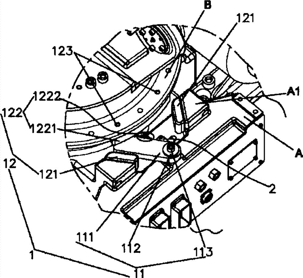
图片来源于网络,如有侵权,请联系删除
证券之星消息,根据天眼查APP数据显示格力电器(000651)新获得一项发明专利授权,专利名为“一种管线安装结构及包括其的衣物处理设备”,专利申请号为CN202011363973.3,授权日为2025年9月23日。
专利摘要:本发明提供一种管线安装结构及包括其的衣物处理设备。该管线安装结构用于安装第一部件和所述第二部件之间的管路和/或线路。管线安装结构包括第一安装座,其沿竖直方向上设有两个与第一部件连接的第一铰接结构,每一第一铰接结构包括:第一固定座;以及与第一固定座配合的第一转动座;以及穿设在两个第一铰接结构之间的第一连接轴;第二安装座与第一安装座结构类似。第一安装座和第二安装座通过连接结构连接,其中连接结构能随第一部件和第二部件之间的相对移动进行折弯和/或伸缩,沿连接结构布置管路和/或线路。本发明使移动部件之间的管线布置更加方便可靠。
今年以来格力电器新获得专利授权5775个,较去年同期增加了11.1%。结合公司2025年中报财务数据,今年上半年公司在研发方面投入了39.18亿元,同比增10.92%。
通过天眼查大数据分析,珠海格力电器股份有限公司共对外投资了101家企业,参与招投标项目30689次;财产线索方面有商标信息8167条,专利信息116647条,著作权信息297条;此外企业还拥有行政许可842个。
数据来源:天眼查APP
以上内容为证券之星据公开信息整理,由AI算法生成(网信算备310104345710301240019号),不构成投资建议。
本文来源:财富通途网
本文地址:https://ibradsap.com/post/35913.html
关注我们:微信搜索“xiaoqihvlove”添加我为好友
版权声明:如无特别注明,转载请注明本文地址!

