上海沪工获得实用新型专利授权:“一种面罩翻转结构”
2025年08月26日 | 浏览量:65291

图片来源于网络,如有侵权,请联系删除
证券之星消息,根据天眼查APP数据显示上海沪工(603131)新获得一项实用新型专利授权,专利名为“一种面罩翻转结构”,专利申请号为CN202422233304.4,授权日为2025年8月26日。
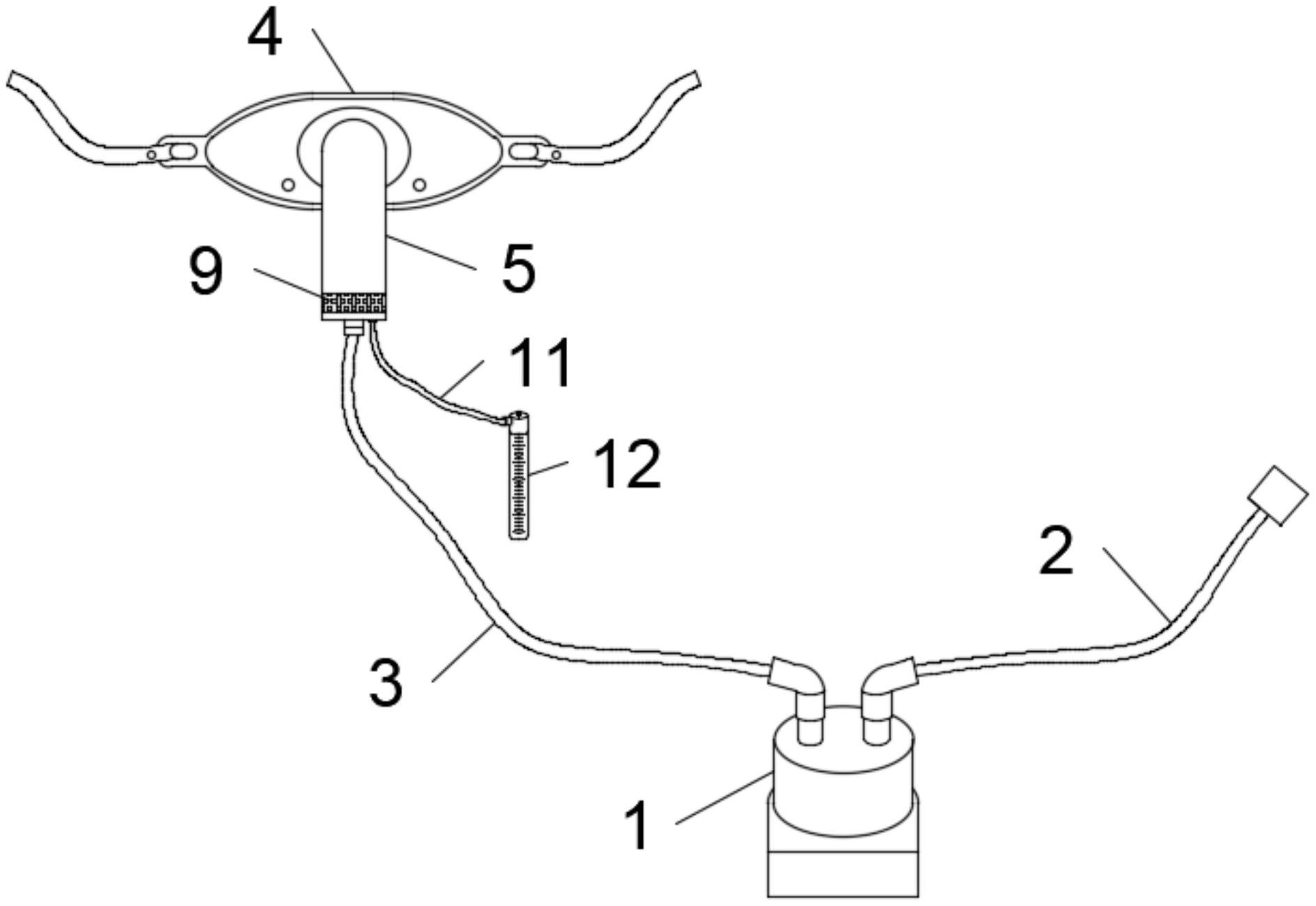
专利摘要:本申请公开了一种面罩翻转结构,涉及电焊机面罩技术领域,其包括塑料面板、透明罩和阻尼旋转结构;所述阻尼旋转结构可拆卸布置在塑料面板上,所述阻尼旋转结构安装于透明罩的两侧;转动阻尼旋转结构,所述透明罩和塑料面板形成任一角度悬停,所述透明罩的覆盖面积大于塑料面板上的显示部区域。本申请具有透明罩在使用时任一位置悬停,提高客户操作便捷度,透明状的面罩有助于读取塑料面板上的显示数据,塑料面板上增设的透明罩,起到防护作用,避免面板上的器件以及显示部件直接受撞击,提高产品的使用寿命的效果。
今年以来上海沪工新获得专利授权18个,较去年同期减少了25%。结合公司2025年中报财务数据,今年上半年公司在研发方面投入了2363.14万元,同比减7.16%。
通过天眼查大数据分析,上海沪工焊接集团股份有限公司共对外投资了13家企业,参与招投标项目177次;财产线索方面有商标信息76条,专利信息763条,著作权信息123条;此外企业还拥有行政许可88个。
数据来源:天眼查APP
以上内容为证券之星据公开信息整理,由AI算法生成(网信算备310104345710301240019号),不构成投资建议。
本文来源:财富通途网
本文地址:https://ibradsap.com/post/34269.html
关注我们:微信搜索“xiaoqihvlove”添加我为好友
版权声明:如无特别注明,转载请注明本文地址!

