长缆科技获得发明专利授权:“电缆接地箱及其接地组件的安装方法”
2025年08月20日 | 浏览量:75426

图片来源于网络,如有侵权,请联系删除
证券之星消息,根据天眼查APP数据显示长缆科技(002879)新获得一项发明专利授权,专利名为“电缆接地箱及其接地组件的安装方法”,专利申请号为CN202510584115.8,授权日为2025年8月19日。
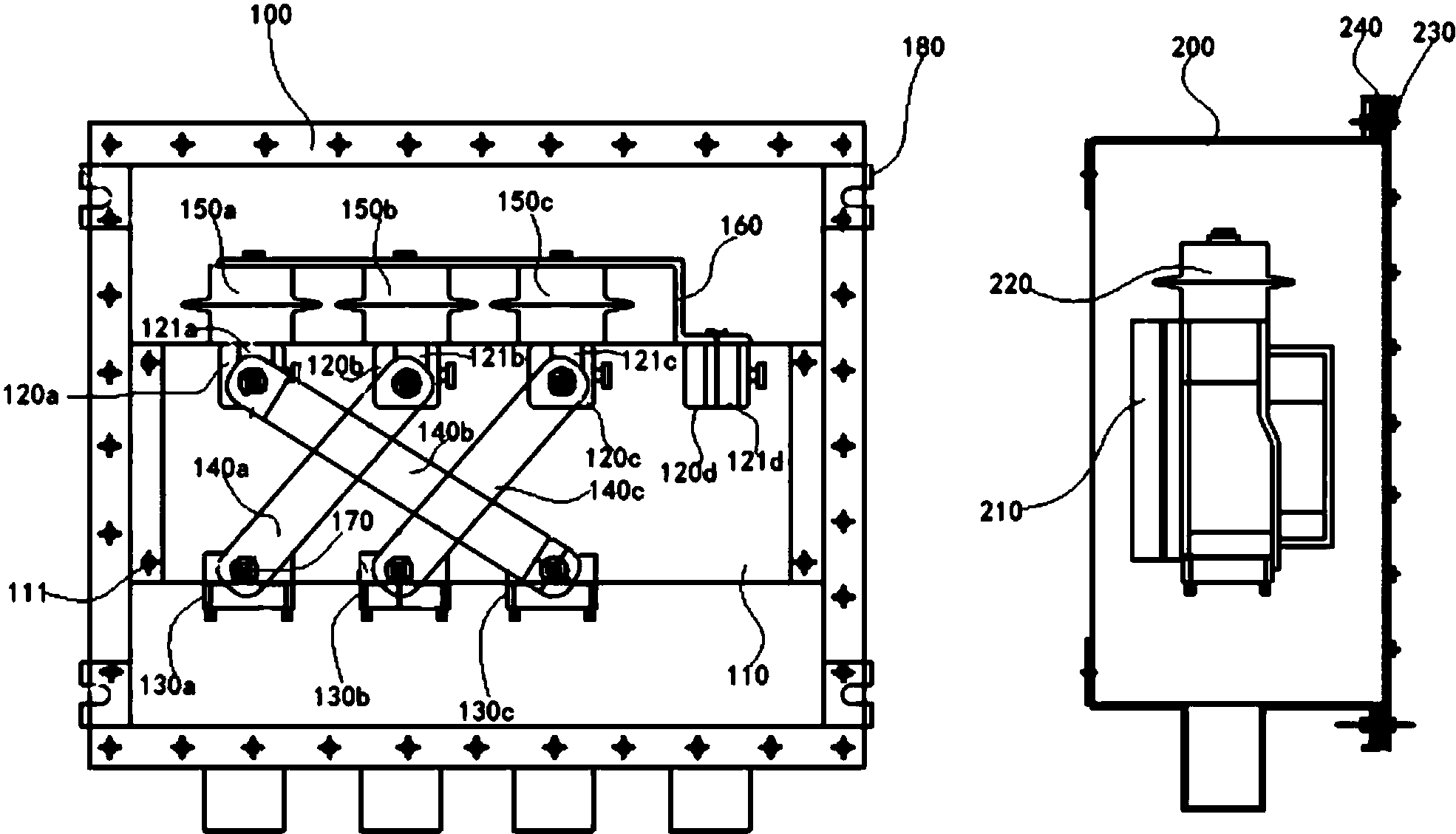
专利摘要:本发明公开了一种电缆接地箱及其接地组件的安装方法,涉及电缆接地技术领域,电缆接地箱包括:箱体,包括第一边侧板以及第二边侧板,第一边侧板的内侧壁设有第一支撑部,第二边侧板的内侧壁设有第二支撑部;第一连接组件,包括绝缘的第一隔离件,第一隔离件包括第一限位部及第一定位部;第二连接组件,包括绝缘的第二隔离件以及绝缘的压板;接地组件,设置于箱体内,接地组件包括绝缘板,绝缘板的第一侧端设有第一榫接口,绝缘板的第二侧端设有第二榫接口,第一定位部穿设于第一榫接口,第二定位部穿设于第二榫接口;其中,压板将绝缘板的第二侧端挤压于第一限位部。本发明的电缆接地箱,可以便于接地组件的安装且安全性高。

图片来源于网络,如有侵权,请联系删除
今年以来长缆科技新获得专利授权46个,较去年同期增加了24.32%。结合公司2025年中报财务数据,今年上半年公司在研发方面投入了3812.68万元,同比增13.57%。
通过天眼查大数据分析,长缆科技集团股份有限公司共对外投资了32家企业,参与招投标项目3230次;财产线索方面有商标信息30条,专利信息447条,著作权信息13条;此外企业还拥有行政许可85个。
数据来源:天眼查APP
以上内容为证券之星据公开信息整理,由AI算法生成(网信算备310104345710301240019号),不构成投资建议。
本文来源:财富通途网
本文地址:https://ibradsap.com/post/33885.html
关注我们:微信搜索“xiaoqihvlove”添加我为好友
版权声明:如无特别注明,转载请注明本文地址!

