老板电器获得发明专利授权:“燃烧组件及具有该组件的燃气热水器”
2025年07月26日 | 浏览量:68191

图片来源于网络,如有侵权,请联系删除
证券之星消息,根据天眼查APP数据显示老板电器(002508)新获得一项发明专利授权,专利名为“燃烧组件及具有该组件的燃气热水器”,专利申请号为CN202510578400.9,授权日为2025年7月25日。
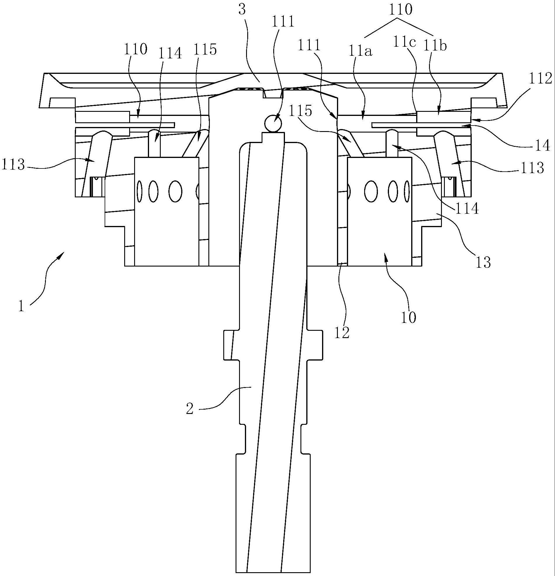
专利摘要:本发明涉及家用电器设备技术领域,更具体地说涉及燃烧组件及具有该组件的燃气热水器,燃烧组件包括:用以形成火焰的燃烧器,该燃烧器具有供火焰向外喷出的燃烧口;导烟壳体,其内具有:与燃烧口相连通、并将燃烧产生的烟气向上排出的导烟通道;导烟通道的侧壁中形成有阻热结构,该阻热结构包括:设置于导烟通道的侧壁中的近热流腔和远热流腔,近热流腔置于远热流腔和导烟通道之间;供近热流腔和远热流腔相连通的过流孔道;供近热流腔与导烟通道相连通的出气孔道;供远热流腔与导烟壳体的外部空间相连通的第一进气孔道。以形成:通过简单结构来阻挡热量向外散出、以具有更高经济性的燃烧组件;以及具有该燃烧组件的燃气热水器。

图片来源于网络,如有侵权,请联系删除
今年以来老板电器新获得专利授权827个,较去年同期减少了8.92%。结合公司2024年年报财务数据,2024年公司在研发方面投入了4.14亿元,同比增6.79%。
通过天眼查大数据分析,杭州老板电器股份有限公司共对外投资了23家企业,参与招投标项目344次;财产线索方面有商标信息604条,专利信息8886条,著作权信息226条;此外企业还拥有行政许可132个。
数据来源:天眼查APP
以上内容为证券之星据公开信息整理,由AI算法生成(网信算备310104345710301240019号),不构成投资建议。
本文来源:财富通途网
本文地址:https://ibradsap.com/post/32079.html
关注我们:微信搜索“xiaoqihvlove”添加我为好友
版权声明:如无特别注明,转载请注明本文地址!

