上海建工获得发明专利授权:“一种小型容器内块体精确定位安装装置”
2025年07月26日 | 浏览量:54880

图片来源于网络,如有侵权,请联系删除
证券之星消息,根据天眼查APP数据显示上海建工(600170)新获得一项发明专利授权,专利名为“一种小型容器内块体精确定位安装装置”,专利申请号为CN202211189966.5,授权日为2025年7月25日。
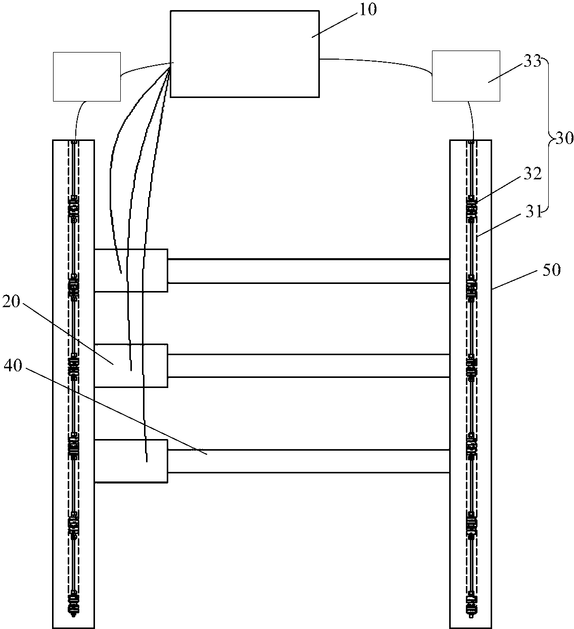
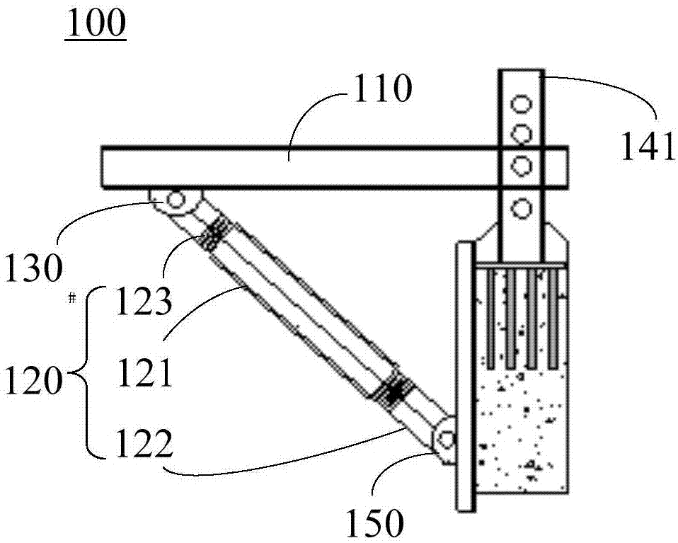
专利摘要:本发明涉及一种小型容器内块体精确定位安装装置,包括:运动模块、台架、三向移动模块、支杆、吸盘模块及保护框,运动模块包括安装于台架下方的滚动轮及与滚动轮匹配的制动单元;三向移动模块安装于台架上,三向移动模块的输出端与支杆固接,支杆与吸盘模块连接,吸盘模块用于吸附块体;保护框包括液压件、顶盘和至少两个抓杆,液压件的输出端与顶盘固接,抓杆的一端与顶盘铰接,另一端能够包覆在吸盘模块以及块体的周围。本发明利用三向移动模块,配合台架的移动构成安全可靠的机械搬运臂,以此代替人工操作,解决了小型容器内块体无法安装或无法精确定位的问题;同时采用保护框对吸盘模块和块体进行保护,避免移动过程中块体掉落造成安全隐患。

图片来源于网络,如有侵权,请联系删除
今年以来上海建工新获得专利授权59个,较去年同期增加了43.9%。结合公司2024年年报财务数据,2024年公司在研发方面投入了111.11亿元,同比增2.74%。
通过天眼查大数据分析,上海建工集团股份有限公司共对外投资了108家企业,参与招投标项目6001次;财产线索方面有商标信息7条,专利信息2196条,著作权信息229条;此外企业还拥有行政许可1970个。
数据来源:天眼查APP
以上内容为证券之星据公开信息整理,由AI算法生成(网信算备310104345710301240019号),不构成投资建议。
本文来源:财富通途网
本文地址:https://ibradsap.com/post/32015.html
关注我们:微信搜索“xiaoqihvlove”添加我为好友
版权声明:如无特别注明,转载请注明本文地址!

