京东方A获得发明专利授权:“探测基板及其制作方法和探测器”
2025年07月12日 | 浏览量:65471

图片来源于网络,如有侵权,请联系删除
证券之星消息,根据天眼查APP数据显示京东方A(000725)新获得一项发明专利授权,专利名为“探测基板及其制作方法和探测器”,专利申请号为CN202211336849.7,授权日为2025年7月11日。
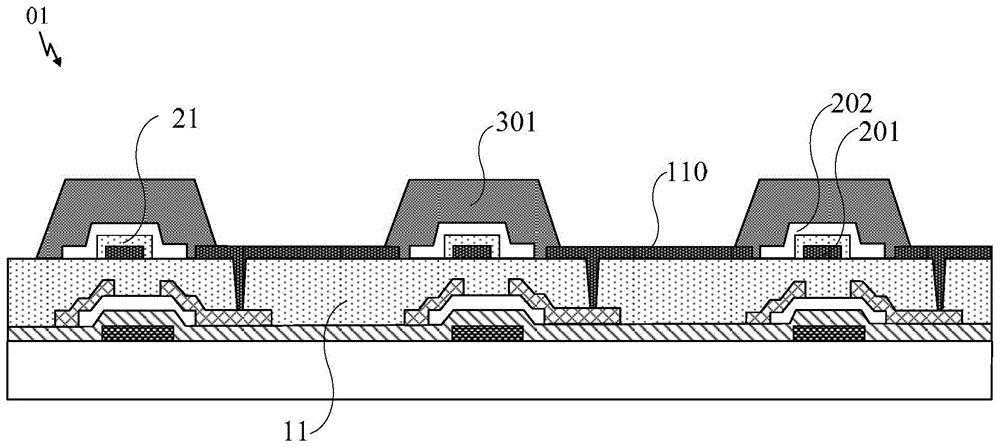
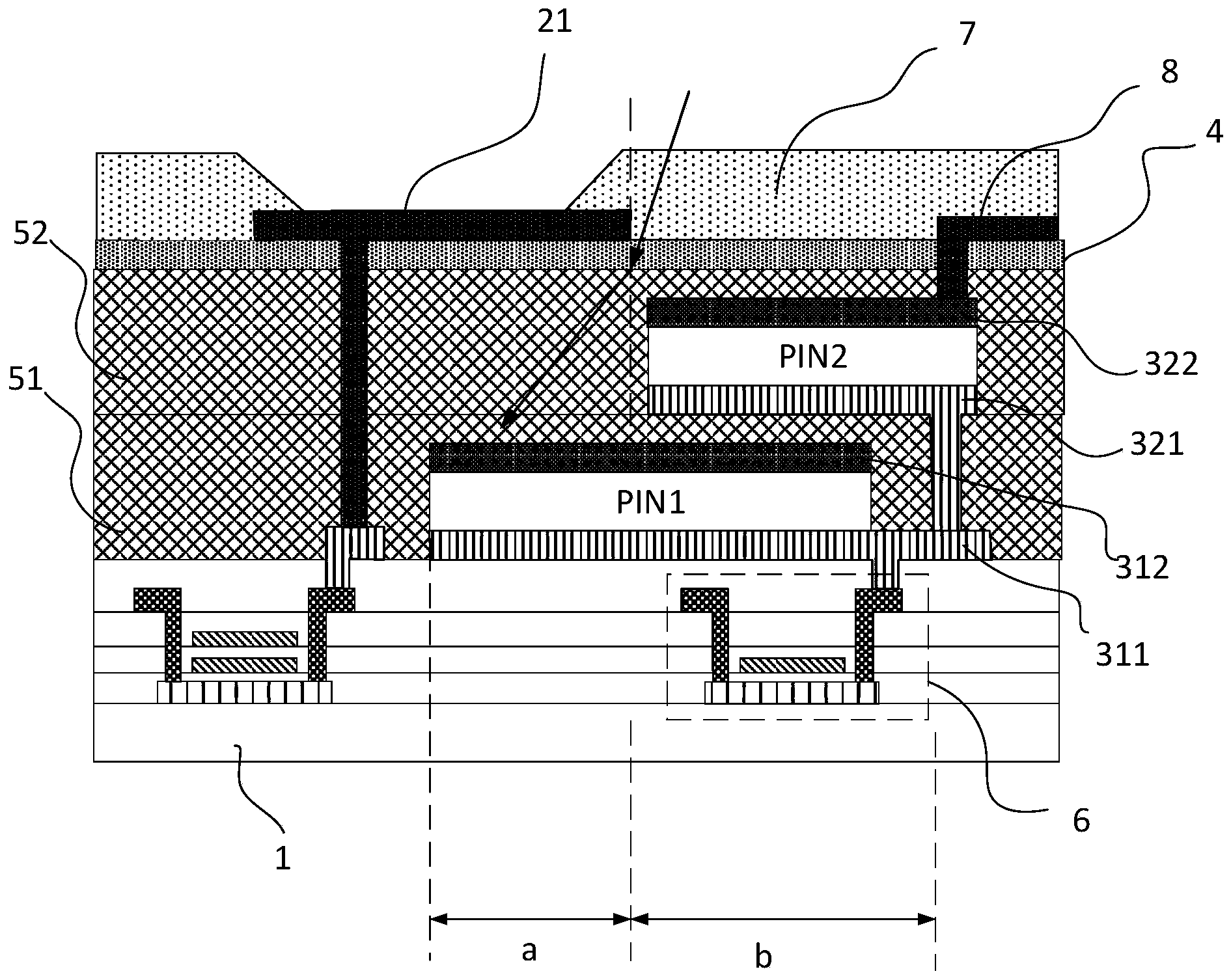
专利摘要:本发明提出了探测基板及其制作方法和探测器。探测基板包括:衬底;栅极,栅极设置在衬底的一侧;有源层,有源层设置在栅极远离衬底的一侧,有源层包括掺杂部,掺杂部包括间隔设置的第一掺杂区和第二掺杂区,掺杂部具有第一掺杂浓度;掺杂层,掺杂层设置在第二掺杂区远离衬底的至少部分表面上,且掺杂层与第一掺杂区没有交叠,掺杂层具有第二掺杂浓度,第二掺杂浓度大于第一掺杂浓度;源漏电极层,源漏电极层包括源极和漏极,漏极与第一掺杂区接触连接,源极与掺杂层接触连接。由此,上述探测基板在薄膜晶体管处于断开的状态下,不易产生漏电流,并且,掺杂层的设置进一步改善了源极与有源层的欧姆接触,提高了薄膜晶体管的开关比。

图片来源于网络,如有侵权,请联系删除
今年以来京东方A新获得专利授权2050个,较去年同期减少了0.82%。结合公司2024年年报财务数据,2024年公司在研发方面投入了131.23亿元,同比增15.94%。
数据来源:天眼查APP
以上内容为证券之星据公开信息整理,由AI算法生成(网信算备310104345710301240019号),不构成投资建议。
本文来源:财富通途网
本文地址:https://ibradsap.com/post/30984.html
关注我们:微信搜索“xiaoqihvlove”添加我为好友
版权声明:如无特别注明,转载请注明本文地址!

