中科美菱获得实用新型专利授权:“一种滑动式自动开关门的超低温设备”
2025年06月20日 | 浏览量:64508

图片来源于网络,如有侵权,请联系删除
证券之星消息,根据天眼查APP数据显示中科美菱(835892)新获得一项实用新型专利授权,专利名为“一种滑动式自动开关门的超低温设备”,专利申请号为CN202422218736.8,授权日为2025年6月20日。
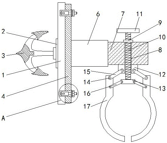
专利摘要:本实用新型公开了一种滑动式自动开关门的超低温设备,包括安装在支架上的设备箱体和带有封条的门体,门体用于封堵设备箱体的开口,还包括:升降架,沿竖直方向限位滑动设置在支架上;电缸,设置在支架底部,用于驱动升降架升降移动;连杆组件,通过连接板安装在升降架上,所述连杆组件与门体连接,用于在连杆组件移动过程中带动门体在恒定竖直状态下活动移动;轨道组件,与连杆组件连接,用于限制门体沿轨道移动。本实用新型利用在门体与升降架升降过程中采用连杆组件及轨道组件连接,能够实现门体的直线升起与水平滑动双重运动模式,从而确保在关门过程中对门封条施加足够的均匀压力,有效增强密封性能,不结霜。
今年以来中科美菱新获得专利授权50个,较去年同期减少了12.28%。结合公司2024年年报财务数据,2024年公司在研发方面投入了3310.83万元,同比减0.68%。
通过天眼查大数据分析,中科美菱低温科技股份有限公司共对外投资了2家企业,参与招投标项目954次;财产线索方面有商标信息22条,专利信息650条,著作权信息47条;此外企业还拥有行政许可176个。
数据来源:天眼查APP
以上内容为证券之星据公开信息整理,由AI算法生成(网信算备310104345710301240019号),不构成投资建议。
本文来源:财富通途网
本文地址:https://ibradsap.com/post/29342.html
关注我们:微信搜索“xiaoqihvlove”添加我为好友
版权声明:如无特别注明,转载请注明本文地址!

