中国电信获得发明专利授权:“一种基站天线调节装置及基站”
2025年05月24日 | 浏览量:72315

图片来源于网络,如有侵权,请联系删除
证券之星消息,根据天眼查APP数据显示中国电信(601728)新获得一项发明专利授权,专利名为“一种基站天线调节装置及基站”,专利申请号为CN202111681180.0,授权日为2025年5月23日。
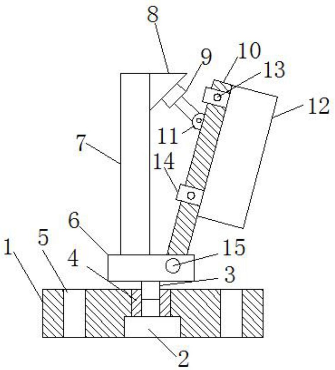
专利摘要:本发明提供了一种基站天线调节装置及基站,基站天线调节装置包括天线模组、转盘、第一传动件、第二传动件、滑块、第一驱动机构和第二驱动机构;转盘分别与天线模组和第一传动件固定连接,第一传动件通过滑块与第二传动件转动连接,滑块连接有第一驱动机构,第二传动件连接有第二驱动机构;第一驱动机构用于驱动滑块相对第一传动件运动,第二驱动机构用于驱动第二传动件运动,以使第一传动件带动转盘转动,转盘带动天线模组转动。本发明的基站天线调节装置可以扩大天线模组角度的调整范围,扩大基站天线的信号接收以及发射范围,同时装置还可以实现天线模组角度的精准调节,加强信号传输的准确性,提升传输质量。

图片来源于网络,如有侵权,请联系删除
今年以来中国电信新获得专利授权560个,较去年同期减少了1.41%。结合公司2024年年报财务数据,2024年公司在研发方面投入了145.27亿元,同比增11.3%。
数据来源:天眼查APP
以上内容为证券之星据公开信息整理,由AI算法生成(网信算备310104345710301240019号),不构成投资建议。
本文来源:财富通途网
本文地址:https://ibradsap.com/post/27391.html
关注我们:微信搜索“xiaoqihvlove”添加我为好友
版权声明:如无特别注明,转载请注明本文地址!

