湖北能源获得实用新型专利授权:“一种免拆除的底板防水支架”
2025年05月21日 | 浏览量:71678

图片来源于网络,如有侵权,请联系删除
证券之星消息,根据天眼查APP数据显示湖北能源(000883)新获得一项实用新型专利授权,专利名为“一种免拆除的底板防水支架”,专利申请号为CN202421837670.4,授权日为2025年5月6日。
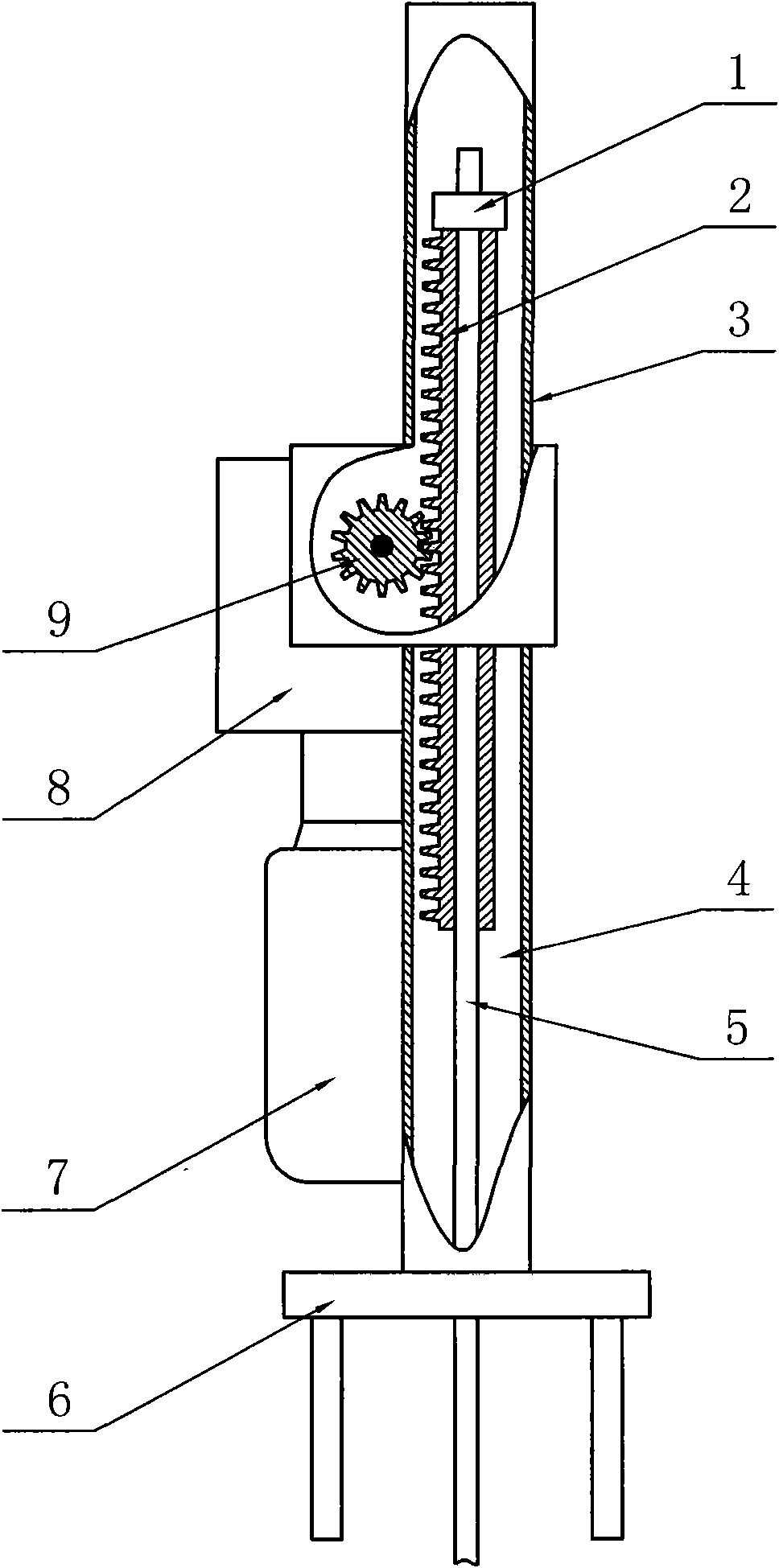
专利摘要:本实用新型公开了一种免拆除的底板防水支架,包括防水螺纹销,所述防水螺纹销的顶部固定连接有螺纹杆,所述螺纹杆的表面螺纹套设有六角螺帽,所述防水螺纹销表面的顶部螺纹套设有止水圆环钢板,所述止水圆环钢板的顶部且位于防水螺纹销的表面活动套设有遇水膨胀橡胶圈,防水螺纹销表面的底部螺纹套设有底板衬板。本实用新型通过支架的结构设计,具有多道防水措施,能够有效阻止地下水的渗水路径,并且兼顾施工的便利性和结构的耐久性,既提高地下空腔结构的支架稳定性,又能够保证地下空腔结构的防水效果,同时顶部支架契合的螺帽可周转使用,不仅降低支架成本,同时支架也能够采用工厂化和批量化生产的优点。
今年以来湖北能源新获得专利授权24个。结合公司2024年年报财务数据,2024年公司在研发方面投入了1770.24万元。
数据来源:天眼查APP
以上内容为证券之星据公开信息整理,由AI算法生成(网信算备310104345710301240019号),不构成投资建议。
本文来源:财富通途网
本文地址:https://ibradsap.com/post/27062.html
关注我们:微信搜索“xiaoqihvlove”添加我为好友
版权声明:如无特别注明,转载请注明本文地址!

